
描述
如何定义取样探头?
标准探头通常由管道或厚壁管制成,并焊接到法兰上,以便安装在工艺管线上。
这种类型的探头对温度、应力、压力、振动和腐蚀具有很强的耐受性。
然而,由于焊接式探头在工艺运行时无法拆卸,维护相对困难。
此外,它们的尺寸较大,会降低流速,使更多颗粒从样品中沉淀出来。
但较低的流速和较大的体积可能会导致分析仪响应时间延长。
此类探头适用于液体或低压气体。
对于每个探头,示例中的相关数据应由客户定义。

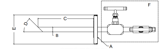
材料说明
A. 材质 : SS316
B. 探头尺寸 : 1/2″ NPS SCH 160
C. 探头长度 : 300 mm
D. 探头端部切口 : 45º 角切
E. 工艺连接 : 法兰 ANSI B16.5 2″ 300# RF
F. 其他组件 : 双隔离针阀
G. 其他规格 : 取样探头出口 1/2″ 外径 (OD)
应用范围:
适用于液体和低压气体。
优势:
代表性样本
