ELTEC微型芯片电阻、ELTEC Model 112M50芯片电阻元件、ELTEC高阻值带引线芯片电阻、ELTEC高阻值管状带引线电阻Model 104、Model 104M50、Model 104M50R
Model 104内含一个 ELTEC Model 112M50芯片电阻元件(带镍带引线),该元件封装在带有环氧树脂的陶瓷套管中。除并联电容略高外,其电阻性能与带引线电阻 Model 102M50完全相同。该环氧树脂具有高度防潮性,并符合在真空中低至 10−7 托的使用要求(据报告在 10−9 托下也能满意工作)。建议在因其尺寸较大而更易于操作的情况下使用 Model 104M50。
应用领域:
高阻抗负载电阻
低噪声、高增益反馈电阻
低电流生物和医疗仪器
光子红外探测器
压电加速度计
水听器前置放大器
驻极体麦克风
电信线路站监控
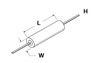
电阻尺寸
| L(最大) | 直径(最大) | ||
|---|---|---|---|
| 英寸 | 0.265 | 0.070 | |
| 毫米 | 6.73 | 1.78 | |
| 镍引线 | L(最小) | W(最大) | H(最大) |
| 英寸 | 0.500 | 0.012 | 0.004 |
| 毫米 | 12.7 | 0.305 | 0.102 |
规格参数
阻值 / 容差: …… 1×106 至 9×109 Ω±5%±10%±20%±30%
1×1010 至 1×1011 Ω±10%±20%±30%
2×1011 至 1×1012 Ω±20%±30%
更严格的容差可根据”最佳努力”原则提供
噪声系数,1V偏压,高于热(约翰逊)噪声水平的噪声: …… 0.5 dB
工作电压范围(推荐): …… 0 至 1 伏特
最大工作电压: …… 至 60 伏特
工作温度: …… -25°C 至 +170°C (248K 至 443K)
可提供中间阻值的电阻。低于 1×106 Ω 以及高达 5×1012 Ω(最大值)的电阻也可提供(需特殊订购)。
符合 RoHS 标准的电阻(型号 104M50R)可提供特定阻值。
注 1: 每个电阻均在 1 VDC @ 25°C 条件下测量。可根据特殊要求在其他电压下进行测试。
注 2: 如果用户预计焊接镍带引线有困难,可根据特殊要求提供镀锡镍带引线。

